Wanted: Atari B&W raster power brick

thebman80

Well-known member
Joined
May 22, 2006
Messages
7,394
Reaction score
30
Location
Wallingford, Pennsylvania
Rating - 100%
60   0   0
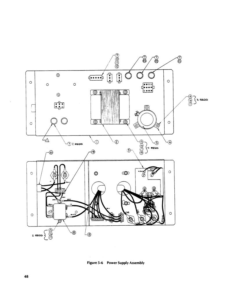
I need a power brick to test my Destroyer PCB the part number is A0071797-01 type B.

This is a power supply for a 70's Atari B&W game nothing color from the 80's.

Looks like this: (Notice the 5 twist style fuse holders)

destroyer%20power%20supply.jpg
 
try contacting Alex at elektronforge.com he may have one.
 
Back
Top Bottom