Great Guns Driver board problem- schematic enclosed

Brick Top

Well-known member
Joined
Aug 20, 2008
Messages
3,568
Reaction score
1,178
Location
Portland, Oregon
Great Guns Driver board problem- schematic enclosed

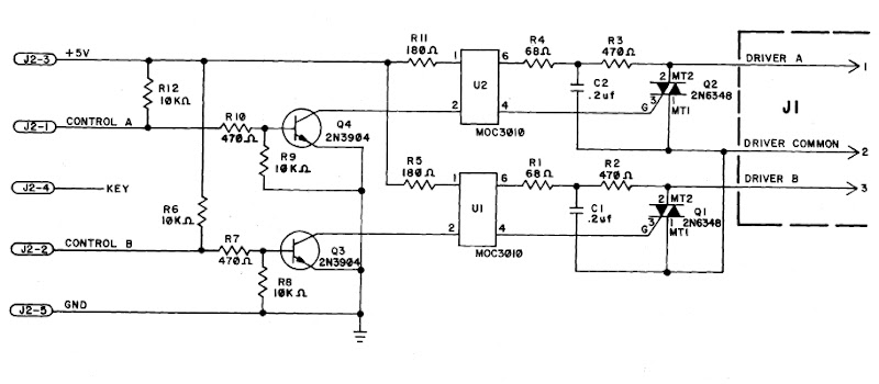
So my solenoids in the guns are being constantly energized as soon as I apply gnd and +5v to the driver board.

Here is the schematic, looks pretty simple but I cant figure out why.

Both solenoids are energized. I have disconnected the input from the game PCB and the problem remains. As soon as I disconnect the +5 or ground to this board the solenoids relax.

Thanks!


ggschem.jpg
 
Fixed

Problem caused by insufficient voltage. A switcher had been hacked in with out adequate ground lines to the PCB stack. Most components were getting about 4.2v

I replaced the bookkeeping RAM with a Dallas NVRAM and the machine would not boot. Checked voltage at chip, and sure enough the low voltage would not wake the Dallas up. Beefed up ground from switcher to PCB stack and NVRAM works for saving high scores and calibrations now as well.
 
Back
Top Bottom