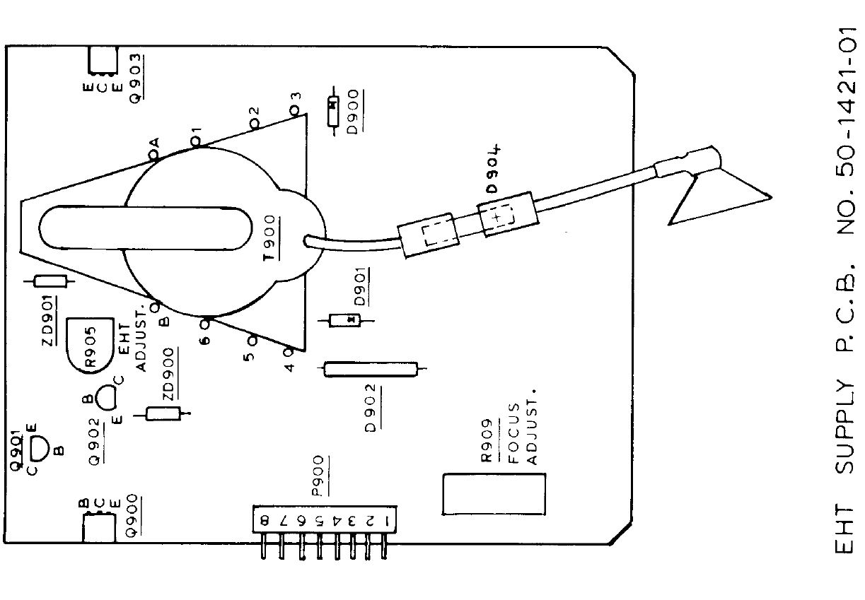
I have two different levels of brightness for the images on my AD. The ship and asteroids are fairly dim, but the "bullets" are nice and bright. Is there an adjustment on the board to brighten the dim images? I can still play fine, but it can be tough to see with black light on. By the way, the monitor has been serviced. I tried adjusting the flyback, but that is for overall brightness.


[VN]